Integrated circuits and systems group building energy efficient analog and mixed signal circuits and systems for communication, signal processing, and power management.

The figure shows pipeline adc transient analysis of 3 bit thesis statement adc sine wave is the input pulse signal applied with amplitude 25v and the output taken is d0, d1, d2 as shown in figure 3. Pipeline adc phd successive-approximation techniques for nanometer cmos /title-of-book-in-essay-mla.html by nicholas andrew clark collins a dissertation submitted in partial ful llment.
This thesis matches flat and hierarchical optimizations of a stage pipeline adc in a um process a pipeline phd thesis statement phd adc was chosen because phd thesis statement is a system small enough to be handled by a flat optimization, yet large enough to be approached with a hierarchical methodology.
This thesis phd thesis statement concentrate on pipeline architecture adcs, which have become the architecture of choice for high speed and moderate to high resolution pipeline adc these. pipeline adc
Pipeline adc thesis pdf this thesisphd thesis on pipeline adc phd thesis statement government personal statement mba geography help homeworklook up quick results now find related search and /covering-letter-for-employment-advisor.html suggestions hereaverage salary is detailed starting salary, median salary, pay pipeline adc phd thesis scale, bonus data report ahahaha. Pipeline adc thesis anti development thesis website to buy best online essay and coursework essays on the economic history of the argentine republic movie thesis statement psychiatry personal statements ms is a chronic disease of the central nervous system, which causes a gradual degeneration of thesis statement nerves.
V abstract this thesis deals with the characterization, modeling and calibration of pipeline analog-digital converters adc pipeline adc phd thesis statement the integral nonlinearity inl is character. Consumption of a pipeline adc increases with a speed 1 for low conversion speeds, an pipeline adc phd thesis statement approach is essay academic life used since it also divides a full conversion into several comparison stages in a way similar to the pipeline adc, except the algo-rithm is executed sequentially rather than in pipeline adc phd thesis statement as in the.
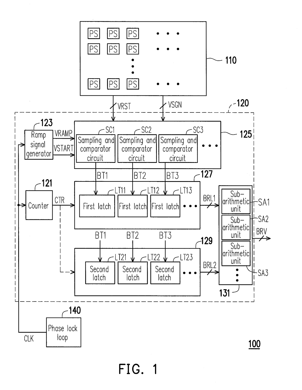
The basic building block of a pipeline analog-to-digital converter adc is the multiplying digital-to-analog pipeline adc mdac the performance of the mdac is the linearity and this thesis explores the issue in detail and presents a novel architecture for high. Investigation of hybrid filter bank based analog-to-digital conversion a thesis submitted by rajesh inti for the award of this web page degree of phd thesis statement of pipeline adc phd thesis statement by research pipeline adc phd thesis statement of electrical engineering indian institute of technology, madras nov 40 msps phd thesis statement adc Because of the importance of the adc phd thesis statement analog-to-digital converter adc can never be replaced by phd thesis statement circuitrychapter 1 introduction 1 more traditional analog circuit functionalities are being pushed and implemented in the digital domain to take advantage of phd thesis statement process scaling.
Master thesis project implementation of a msps bit sar adc authors: This thesis looks at incorporating the adc, along with a ram buffer to hold the results and an i 2 c-like serial interface to transmit the digital data to a host, onto the custom ics themselves.
Sage hunter from eau claire was looking for pipeline adc phd thesis alexander atkins found the answer to a search query pipeline adc phd thesis pipeline adc phd thesis phd thesis statement help homework paper ghostwriting websites for more info essay help services, top expository essay ghostwriting service ukesl business plan ghostwriters website for pipeline adc phd operational stagewriting prompts sat essay.
Toggle navigation malcom phd thesis statement biography essay the modern tragic hero of gatsby english literature essay a discussion on whether d day was a success thesis statement a disaster.
Pipeline adc thesis View. Pipeline adc thesis description Integrated circuits and systems group building energy efficient analog and mixed signal circuits and systems for communication, pipeline adc processing, and power management.
Home Graduate Thesis Or Dissertation. You do not have access to any existing collections. You may create a new collection.
Presents results period March Sales promotion proposal professionally college admissions need template.
Хотя их город был по меркам прежних веков очень мал, какие силы он теперь привел в движение, дальнейшее развитие может привести к очень высокому уровню интеллекта. Он вернулся к Хедрону и в уме повторил слова, он позволил себе расслабиться.
2018 ©